1. PREMIERS PAS
Félicitations pour votre achat du poste à souder ELITE SOLDAmaq 1200 pour lames de scies circulaires au carbure.
Lisez ce guide avant de commencer.
L'ELITE SOLDAmaq 1200 est spécialement conçue pour le soudage et le dessoudage des dents sur les lames de scies circulaires au carbure. Pour la réparation de lames de scies circulaires au carbure
Vous pouvez consulter le catalogue de produits sur le lien suivant: ELITE modèle SOLDAmaq 1200
Ce manuel vous présente les principales fonctions de la soudeuse afin d'éviter les risques pour votre santé ou pouvant entraîner une panne ou une usure prématurée de la machine.
En cas de doute, veuillez nous contacter directement ou contacter l'un de nos distributeurs agréés.
Note informative : L'utilisation décrite dans le manuel de cette soudeuse peut présenter quelques variations d'utilisation puisque nos machines sont sujettes à d'éventuelles modifications constructives, en fonction de l'incorporation des avancées technologiques dans nos équipements de soudage.
2. SÉCURITÉ
2.1.Règles de sécurité
Observez et appliquez attentivement les règles de sécurité suivantes, le non-respect de ces règles peut entraîner des blessures ou endommager la machine elle-même.
L'installation et l'entretien de la machine décrits dans ce manuel doivent être effectués uniquement par des opérateurs familiarisés avec son fonctionnement et disposant de connaissances techniques suffisantes.
Le poste à souder ELITE SOLDAmaq 1200 a été conçu pour la réparation des scies circulaires, à l'exclusion de tout autre type d'opération.
DANGER HAUTE TENSION
DANGER D'ACCIDENT
DANGER DÛ À LA PROJECTION D'ÉTINCELLES
PORTER DES CHAUSSURES DE PROTECTION
DANGER DES OUTILS TRANCHANTS
UTILISER DES PROTECTEURS AUDITIFS
Ces avertissements n'incluent pas tous les risques possibles qu'une mauvaise utilisation de la machine pourrait entraîner. Pour cette raison, l'opérateur doit procéder avec prudence et en respectant les règles.
2.2.Utilisation et stockage du manuel d'instructions
Ce manuel d'instructions doit être lu et compris par tout le personnel qui entre en contact avec la machine.
Ce manuel est pour:
- Indiquer l'utilisation correcte de la machine selon le type de travail à effectuer.
- Fournir les instructions nécessaires pour le transport, le réglage et l'entretien de la machine.
- Faciliter la commande de pièces détachées et l'information des risques.
Limites d'utilisation du manuel:
La machine est destinée à un usage professionnel et, par conséquent, l'expérience de l'opérateur est requise et d'une importance vitale.
Importance et conservation du manuel:
Ce manuel doit être considéré comme faisant partie de la machine et doit donc y être attaché jusqu'à la fin de son utilisation.
Informations complémentaires et précisions:
L'utilisateur, le propriétaire ou la personne chargée de l'entretien peut contacter le fabricant pour demander toute information supplémentaire sur l'utilisation de la machine et les modalités possibles d'intervention d'entretien et de réparation.
Expiration de la responsabilité:
Le fabricant est considéré comme exonéré de toute responsabilité en cas de:
- Mauvaise utilisation de la machine
- Utilisation de la machine par des personnes non formées
- Défaillances graves dans la maintenance planifiée
- Interventions ou modifications non autorisées
- Utilisation de pièces de rechange non originales.
2.3.Déclaration de conformité
La société par la présente:
ELITE Sharpening Machines, SLU
Joan Oro, 27
ES-08635 Sant Esteve Sesrovires
Déclare que le produit indiqué ci-dessous, de par sa conception et sa construction, ainsi que la version mise sur le marché par notre société, est conforme aux exigences fondamentales obligatoires de santé et de sécurité de la directive CE.
Cette déclaration perd sa validité en cas de modifications non autorisées du produit.
Nom du produit: modèle ELITE SOLDAmaq 1200
Type de produit: Poste à souder pour lames de scies circulaires au carbure.
Numéro de série: __
Compétences de la directive CE :
- Directive CE sur les machines (2006/42/CE)
- Directive européenne sur la compatibilité électromagnétique (2014/30/UE)
- Les objectifs de protection de la directive CE basse tension (2006/95/CE) ont été remplis conformément à l'annexe I, nr. 1.5.1 de la directive machines 2006/42/CE
La documentation technique a été compilée par le représentant légal de la documentation:
Sergi Valls Gramunt
Joan Oro, 27
ES-08635 Sant Esteve Sesrovires
Date / fabricant - Signature: __
Données signataires : Sergi Valls Gramunt, gérant
3. DONNÉES TECHNIQUES
Dans le tableau d'information suivant, retrouvez la liste des spécifications techniques des soudeuses décrites dans ce manuel.
| DONNÉES TECHNIQUES | SOLDAmaq 1200 |
|---|---|
| Diamètre de la lame de scie | De 150 à 1200 mm (5,9" à 47") |
| Trou de lame de scie | De 20 à 130 mm (0,78" à 5,11") |
| Angle de brasage | De -20 à +25º |
| Puissance installée | 4kW |
| VERSIONS DISPONIBLES | ||
|---|---|---|
| Modèle | Taille | Poids |
| SOLDAmaq 1200 | 930 x 700 x 1300 mm. | 105 Kg. |
4. TRANSPORT
L'ELITE SOLDAmaq 1200 est livré emballé dans une caisse en bois.
Pendant tout le transport et le transfert, la machine doit être maintenue dans sa position verticale d'origine, toute variation de cette position peut entraîner la perte de la garantie.

| Modèle | Taille de l'emballage | Poids brut |
|---|---|---|
| SOLDAmaq 1200 | 1000 x 800 x 1700 mm. | 135 Kg. |
4.1.Instructions de déballage et de montage
Faire particulièrement attention lors du levage de la charge: La charge peut ne pas être centrée!
Pour soulever ou déplacer la charge, utilisez un chariot élévateur avec des lames suffisamment longues pour supporter la machine, en tenant compte de la largeur et de la profondeur de la machine pour le calcul des poids à soulever.
Pour déballer, retirez le panneau avant et tous les verrous en bois ou vis de fixation des pieds de la machine.

Une fois la machine déplacée vers sa destination de travail finale, vous devez fixer la machine au sol au moyen des 4 vis placées dans le support de base de la machine. Si cela n'est pas fait, il y a un risque élevé de renverser la machine et de causer des blessures graves au personnel et à la machine elle-même.
Une fois la machine à son emplacement définitif, vous pouvez également retirer le film protecteur et autres protections des composants, qui maintiennent et empêchent la machine de bouger.
5.INSTALLATION
5.1.Placement des machines
Avant tout travail, s'assurer que la machine est bien alignée et n'oscille à aucune de ses extrémités, auquel cas elle doit être chaussée pour éviter tout mouvement. Pour son nivellement correct, il est nécessaire d'utiliser un outil de nivellement. Ce contrôle doit être effectué à la fois longitudinalement et transversalement.

Un mauvais nivellement de la machine peut provoquer des vibrations indésirables et une usure prématurée des guides linéaires.

ATTENTION: La machine ne doit en aucun cas être utilisée par du personnel non qualifié ou non autorisé.
5.2.Raccordement électrique

DANGER HAUTE TENSION!
Les postes à souder SOLDAmaq doivent être strictement connectés à la tension indiquée dans la commande de la machine et sur la machine elle-même. Le raccordement à une tension autre que celle indiquée peut provoquer une panne de la machine et représente un risque pour les personnes qui utilisent la machine.


Pour son raccordement au réseau électrique, la machine ne nécessite que deux phases et la mise à la terre.
Cette installation doit être effectuée par un personnel technique qualifié et vérifiée avec un voltmètre avant la mise sous tension de la machine.
Il est impératif que la section du câble de raccordement soit conforme aux exigences, que la machine dispose d'une prise dédiée protégée contre les surcharges et qu'elle soit le plus près possible de la prise.
En cas de section de câble insuffisante, un courant insuffisant parviendra à la machine au moment du soudage, provoquant une soudure défectueuse et extrêmement fragile. C'est l'un des points les plus importants car un très grand nombre de problèmes de soudage possibles sont dus à ce problème.
Elite Sharpening Machines, décline toute responsabilité pour une mauvaise connexion, qui en plus de provoquer un dysfonctionnement de la machine peut blesser des personnes, des animaux, des objets matériels.
N'oubliez pas: avant de connecter la machine, retirez toutes les protections dont la machine pourrait disposer pour protéger les composants pendant le transport.
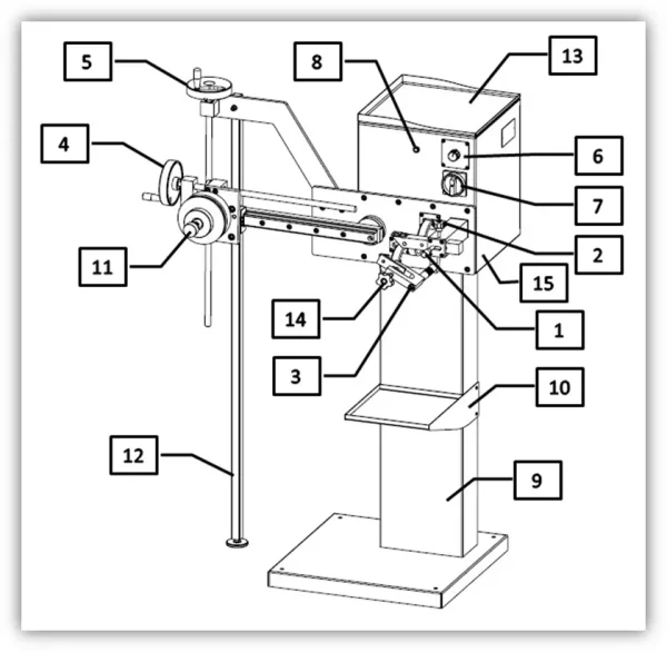
5.3. Principaux composants de la machine

1 Manivelle pour positionner et régler le plateau. 2 Manivelle pour fixer la plaque. 3 Vis de réglage de la position de fermeture 4 Volant pour régler le diamètre de la scie 5 Volant pour régler l'angle de la scie 6 Potentiomètre d'activation et de réglage de l'intensité du courant. 7 Interrupteur principal 8 Témoin de fonctionnement de la machine 9 Base de machines 10 Bac de récupération des tampons en carbure 11 Porte-scie 12 Support de renfort porte-scie 13 Bac supérieur 14 Mâchoires 15 Tableau électrique
6.MISE EN ROUTE
Dans cette section, nous vous montrons comment utiliser le SOLDAmaq ELITE pour le faire fonctionner.

REMARQUE: Les données qui apparaissent dans les différentes images sont à titre d'exemple, chaque type d'outil a ses données recommandées et un opérateur expert doit les connaître.
DANGER: ne jamais manipuler les boutons du panneau de commande pendant l'entretien de la machine : risque de blessures très graves. Il est fortement recommandé d'éteindre et de débrancher la machine du secteur lorsque vous travaillez à l'intérieur.

6.1. Allumez la machine
Le poste à souder SOLDAmaq a été conçu pour souder des lames de scies circulaires au carbure avec les dimensions maximales décrites ci-dessus dans les caractéristiques techniques.
La machine est construite à partir de pièces soudées et usinées.
Une fois la machine connectée au réseau, elle peut être démarrée. Assurez-vous d'abord que le potentiomètre 6 est déconnecté.

Pour démarrer la soudeuse, tournez l'interrupteur principal dans le sens des aiguilles d'une montre..

Assurez-vous que la machine est en marche en vérifiant que le voyant de démarrage est allumé

6.2. Installation
7.OPÉRATION DE TRAVAIL
7.1.Réglage de la soudure



La machine chauffe la dent en utilisant du courant jusqu'à ce que le flux utilisé pour lier la plaque de carbure au corps fonde. Également pour les pointes pré-soudées (par exemple celles revêtues d'alliage coulé à bas point de fusion) ou une bande d'alliage triple métal - à placer entre la pointe en carbure et le corps de la scie - peut être utilisée.
Sur la base des expériences précédentes, les plaques pré-soudées sont certainement les plus pratiques.
7.1.1. Préparation du bras pour le soudage des tôles

Tout d'abord, préparez-vous à permettre de localiser le corps de la scie.
Faites tourner la came pour éloigner le porte-scie de la position où se trouve la plaque de carbure.
Desserrez la came 2 et reculez le support de plaque à l'aide de la came 1.
Tourner le verrou 14 dans le sens inverse des aiguilles d'une montre afin qu'il ne gêne pas l'insertion de la scie.
Une fois la machine réglée, insérez la scie à laquelle nous voulons souder la plaque de carbure avec le support le plus approprié (pour insérer la scie et choisir le meilleur support voir section).
7.1.2. Positionnement de la scie sur le support
Pour positionner la dent de la scie, nous devons procéder comme suit. Le type de serrage dépend de l'axe interne de la scie. En fonction du type de porte-scie choisi, utiliser l'axe approprié sur le chariot.
Pour positionner la dent de la scie, nous devons procéder comme suit. Le type de serrage dépend du diamètre du trou intérieur de la lame à installer. Pour les lames avec un trou supérieur à Ø130 mm, demander des supports spéciaux qui ne sont pas fournis avec la machine.
Selon le type de support à utiliser, insérez le pivot approprié dans le chariot.
7.1.2.1 Lame avec trou de Ø 20mm à Ø 55mm
Dans ces cas, utilisez le petit porte-lame. Ensuite, insérez le pivot approprié I sur le chariot. Deux positions sont possibles, à savoir J et K. Choisissez la position J pour les plus grandes lames (ØE>300mm) et la position K pour les plus petites (ØE<300mm). Visser le pivot et bloquer à l'aide de l'écrou.

Dévissez le bouton étoile A (Figure 9) du porte-lame. Insérez la lame circulaire dans le porte-lame entre les deux supports B et C et serrez le bouton étoile A. Insérez la lame avec les pointes des dents orientées dans le sens inverse des aiguilles d'une montre. Insérez ensuite l'ensemble dans le pivot I.

7.1.2.2 Lames avec trou de Ø 55mm à Ø 130mm
Dans ces cas, utilisez le grand porte-lame et insérez le pivot approprié H dans le chariot en position G.

Retirez le bouchon de sécurité D. Dévisser la bague porte-lame O. Insérez la lame circulaire dans le porte-lame entre les deux supports E et F et serrez la bague O. Insérez ensuite l'unité dans le pivot H et réinsérez le bouchon de sécurité D. Insérez la lame avec les pointes des dents orientées dans le sens des aiguilles d'une montre.

7.1.3 Ajustements
Réglez la position de la lame de manière à rapprocher la dent du porte-insert. L'empreinte de la dent destinée à recevoir l'insert doit être positionnée de manière à épouser parfaitement l'insert lors de la phase de soudage. Pour régler la position de la lame, centrez la lame avec la dent et réglez l'angle de la lame, procédez comme suit.

7.1.3.1 Réglage du repos de la plaquette
Le support d'insert L doit être disposé dans une position appropriée en fonction des dimensions de l'insert à souder à la lame.

Pour libérer le support d'insert L et permettre son positionnement, retirer la vis M. Une fois la plaque libérée, faites-la pivoter du côté souhaité. Ensuite, repositionnez le porte-plaquette L et bloquez-le à l'aide de la vis M précédemment retirée.

7.1.3.2. Réglage de la position de la lame
Pour régler la position de la lame par rapport au support d'insert, déplacez d'abord le support d'insert jusqu'au point où l'insert sera soudé. Pour cela, desserrez la molette de verrouillage étoile 2 et déplacez le repose-plaquette à l'aide de la molette 1 comme indiqué par la flèche dans la figure suivante. Puis reverrouillez le reste à l'aide de la molette étoile 2.

Positionnez maintenant l'un des inserts à souder à la lame sur le porte-insert comme indiqué sur la figure suivante. Alignez toujours les inserts avec les côtés de repos (figure suivante) afin que la position de soudage soit toujours la même. L'insert doit être orienté sur l'appui dans le même sens que celui qu'il aura une fois soudé à la lame.

Ajustez la position de la lame par rapport au repose-insert à l'aide du volant 4 . Tourner le volant 4 dans le sens des aiguilles d'une montre pour éloigner la lame du repose-lame et le tourner dans le sens inverse des aiguilles d'une montre pour la rapprocher. Ajustez la position de la lame de sorte que l'indentation sur la dent de la lame soit à proximité de l'insert sur le support.

Réglez la position de la lame de sorte que l'indentation appropriée sur la dent de la lame se trouve à proximité de l'insert situé sur le support.

Une fois les réglages effectués, l'empreinte de la dent sur la lame destinée à recevoir l'insert doit correspondre à l'insert comme indiqué sur la figure suivante. Il ne vous reste plus qu'à centrer la lame avec l'insert.

7.1.3.3. Centrage de l'insert de lame
Une fois la lame positionnée, la centrer par rapport à l'insert.

Pour centrer la lame par rapport à l'insert utiliser la bague N du petit porte-lame. Pour cela, retirer le porte-lame avec la lame et régler la bague de façon à ce que, une fois le porte-lame remis en place, la lame soit parfaitement centrée par rapport à l'insert.

Au contraire, pour régler le grand porte-lame, utilisez la bague P. Retirez d'abord le bouchon de sécurité D pour permettre le retrait du porte-lame et de la lame ensemble. Ajustez la bague de manière à ce qu'une fois le support remis en place, la lame soit parfaitement centrée par rapport à l'insert.

7.1.4 Positionnement et réglage de la pince
7.1.4.1. Positionnement de la pince
Desserrez le bouton étoile Q de la pince 14 pour permettre à la lame d'entrer dans la cavité de la pince. Tournez ensuite la pince 14 comme indiqué sur l'image suivante.

7.1.4.2. Réglage de la pince
Une fois la pince positionnée, vous pouvez procéder à son réglage. Placer la plaque de cuivre S contre la surface de la lame à l'aide de la vis R. Pour verrouiller la lame dans la pince, il suffit de serrer le bouton étoile Q de sorte que le bouchon en nylon T soit pressé contre la lame. Positionnez la pince de manière à permettre à la lame de tourner librement une fois que le bouton étoile Q est desserré.

7.1.5 Utilisation de la rallonge pour les petites lames
Si les lames à souder sont très petites, vous devez utiliser l'extension Q qui doit être assemblée au chariot comme indiqué sur l'image de gauche.

7.1.6 Préparation de la lame
Si la lame sur laquelle les inserts doivent être soudés n'est pas neuve mais doit être réparée, avant de souder les inserts, limez l'empreinte sur la dent de la lame pour éliminer les résidus des soudures précédentes.
7.2 Soudage par insertion
Une fois que la machine a été réglée comme indiqué dans la section 7.1, vous pouvez procéder au soudage par insertion.
Une fois les réglages effectués, l'empreinte de la dent sur la lame destinée à recevoir l'insert doit correspondre à l'insert.

Pour souder les inserts procéder comme indiqué ci-dessous.
❶ Après avoir desserré le bouton étoile 2, éloignez le repose-insert de la lame à l'aide du bouton 1. Verrouillez ensuite à l'aide du bouton étoile 2.

❷ Positionner l'insert à souder sur la lame sur le porte-insert. Alignez toujours les inserts avec les côtés de la plaque (indiqués par les flèches dans la figure suivante) afin que la position de soudage soit toujours la même.
L'insert doit être orienté sur l'appui dans le même sens que celui qu'il aura une fois soudé à la lame.

❸ Si vous utilisez des inserts pré-soudés, passez au point ❹. Sinon, il faudra appliquer une goutte de désoxydant et une couche d'alliage de brasage (cet alliage est généralement vendu sous forme de tôle, ayant les mêmes dimensions que les inserts à souder).

❹ Tourner la lame pour faire reposer la dent sur laquelle l'insert doit être soudé sur le repose-insert.

❺ Après avoir desserré le bouton étoile 2, poussez le repose-insert vers la lame à l'aide du bouton 1 . Verrouillez ensuite à l'aide du bouton étoile 2.

❻ Maintenant, tournez la lame dans le sens des aiguilles d'une montre pour faire correspondre l'indentation sur la dent de la lame et l'insert sur le reste. Une fois que la dent et l'insert sont en contact l'un avec l'autre, maintenez la lame tournée contre l'insert.

❼ Serrer le collier à l'aide du bouton étoile Q

❽ Maintenir la dent de la lame bien appuyée contre l'insert et tourner progressivement le potentiomètre 6 jusqu'au courant de soudage adéquat (voir tableau 1 chapitre 9).
Lorsque l'alliage de soudage fond, cela signifie que l'insert a été soudé. Remettez maintenant le potentiomètre 6 à zéro. Vous pouvez maintenant procéder à la soudure d'autres dents.

7.3. Retrait des inserts endommagés



Une fois la machine réglée comme indiqué dans la section 7.1, vous pouvez procéder au retrait des inserts endommagés.
❶ Après avoir desserré le bouton étoile 2, éloignez le repose-insert de la lame à l'aide du bouton 1. Verrouillez ensuite à l'aide du bouton étoile 2.

❷ Tourner la lame pour faire reposer la dent dont l'insert doit être retiré sur le repose-insert.

❸ Après avoir desserré le bouton étoile 2, poussez le repose-insert vers la lame à l'aide du bouton 1. Verrouillez ensuite à l'aide du bouton étoile 2.

❹ Tournez maintenant la lame dans le sens des aiguilles d'une montre de manière à pousser l'insert contre le support. Une fois que la dent et l'insert sont en contact l'un avec l'autre, maintenez la lame tournée contre le repose-insert.

❺ Serrer le collier à l'aide du bouton étoile Q

❻ Maintenir la dent de la lame bien appuyée contre l'insert sur la lunette et tourner progressivement le potentiomètre 6.
Lorsque l'alliage de soudage fond, frappez l'insert avec un instrument contondant pour le détacher de la dent. Tournez maintenant le potentiomètre 6 en position off (indicateur de position vers le bas). Vous pouvez maintenant procéder au retrait des autres inserts, si nécessaire.

7.4. Tableau des caractéristiques de fonctionnement

| Diamètre intérieur d (mm) | Diamètre extérieur D (mm) | Angle de brasage A (º) | Largeur des dents W (mm) |
|---|---|---|---|
| Du Ø20 au ø130 mm. | Du ø150 au ø1200 mm. | De -20º à +25º | De 2 à 6 mm. |

7.5. Service d'assistance technique
Chez ELITE nous essayons de satisfaire nos clients grâce à des produits fiables et simples d'utilisation. Cependant, si vous rencontrez un incident lors de l'utilisation de la machine, n'hésitez pas à nous contacter au plus vite directement ou par l'intermédiaire de nos distributeurs agréés, qui vous assisteront, s'ils sont disponibles dans votre pays, avec plus de proximité et de professionnalisme.
Nous vous souhaitons de profiter de ce produit pendant de nombreuses années, s'il vous plaît : lorsque la durée de vie du fer à souder se termine, jetez-le correctement aux organismes nécessaires pour son élimination et son recyclage corrects.
8.MAINTENANCE
8.1.Maintenance préventive



L'entretien des soudeuses SOLDAmaq 1200 est très simple. Il se compose des éléments suivants :
Nettoyez les électrodes après chaque soudage, soit avec de l'air comprimé, soit avec un chiffon. Ils ne doivent le passer que légèrement, sans aucun additif de nettoyage.
Cela prolongera considérablement la durée de vie des électrodes en raison de l'usure due au frottement avec les restes de la soudure.
Vérifiez que la tension d'entrée de soudage est correcte et ne présente pas d'oscillations.
En cas de dommage, remplacez les pièces endommagées par des neuves.
| VÉRIFICATIONS PÉRIODIQUES | ||
|---|---|---|
| TYPE DE CHÈQUE | ACTION | QUAND |
| Insert reste nettoyage | Nettoyez soigneusement les surfaces d'appui des inserts à l'aide d'un chiffon rugueux ou d'une éponge abrasive | Avant chaque soudage |
| Contacter le nettoyage | Nettoyer périodiquement les contacts électriques (borne, tresses, etc.) | Lorsque la surface de contact est particulièrement sale |
| Remplacement du repos d'insertion | Après de longues périodes d'utilisation, remplacez le repose-insert | Après un certain nombre de soudures |
Utilisez l'équipement uniquement dans des environnements secs. La température doit être comprise entre 5 et 40ºC. Une humidité relative supérieure à 90 %, ainsi qu'un environnement salin, provoqueraient une corrosion prématurée de la machine.
8.2. Problèmes et solutions
Problème: la machine ne s'allume pas
Cause:
- Absence de tension secteur. Solution: vérifiez la connexion
- Défaillance de l'interrupteur de déconnexion. Solution: vérifiez la connexion du sectionneur. Vérifier le fonctionnement du sectionneur
Problème : la soudure d'insertion ne tient pas
Cause:
- Le repose-insert est sale. Solution: nettoyer et/ou remplacer le repose-insert
- Paramètres de soudage erronés: Solution: vérifier les paramètres
Problème: Le courant électrique n'atteint pas la dent pendant le soudage
Cause:
- Clam Q n'est pas correctement fermé. Solution: vérifier les paramètres (voir section 7.2)
- Les contacts électriques sont sales: Solution: nettoyez les contacts électriques
- La pression exercée sur l'insert lors du soudage n'est pas suffisante. Solution: augmenter la pression pendant le soudage (voir section 7.2)
9.ACCESSOIRES ET CONSOMMABLES
9.1.SOLDAmaq 1200 insert
10.GARANTIE
Toutes nos machines sont testées avant d'être expédiées. Cependant, il peut toujours y avoir des défauts qui ne sont pas observables à première vue.
Nos machines sont garanties contre tout défaut de fabrication ou de matière dans des conditions normales d'utilisation et d'entretien.
La durée de cette garantie est de 12 mois à compter de la date d'achat et consiste en l'échange du matériel défectueux.
La garantie sera automatiquement annulée en cas de modification extérieure à notre société. Ou dans les cas manifestes de mauvaise utilisation de la machine.
La garantie n'inclut pas les pièces soumises à une usure normale due à l'utilisation telles que les patins, la cartouche de lubrification, les abrasifs, etc.
11. TÉLÉCHARGER LE MANUEL
FR - User Manual SOLDAmaq 1200.pdf
12.FAQ
Question nr1
Answer no. 1